Gateway South, Prototyping Building

2024

Design Director, Daniel Renner

Photos, Mike Sinclair

Sketches, Daniel Renner

Located just south of the Gateway Arch in St. Louis, Missouri, Gateway South is an emerging technology district designed to bring manufacturing, technology, education, office space, residential uses, and retail back into the city’s core. Positioned along the Mississippi River and adjacent to major interstate and rail infrastructure, the district is strategically located to become a leading manufacturing hub for the Midwest.

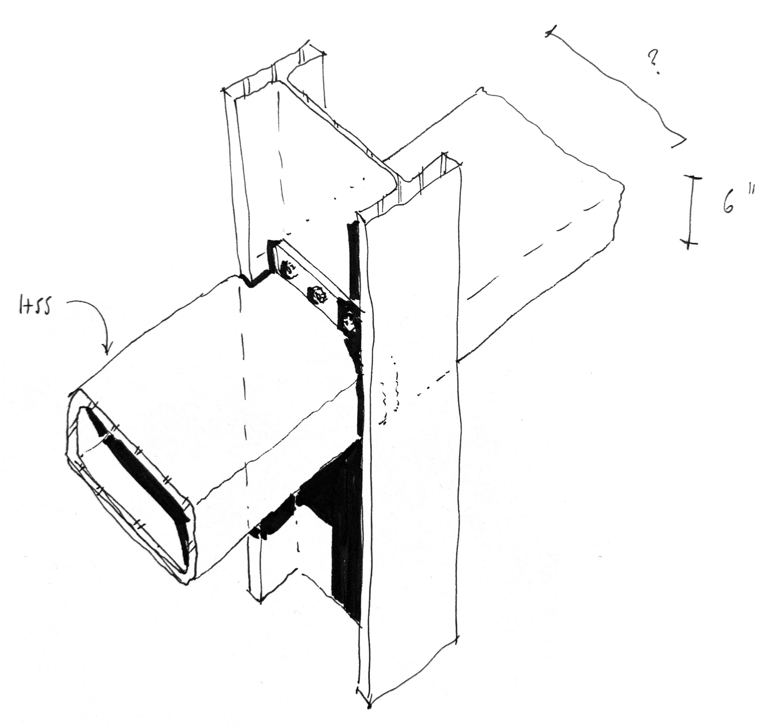
The Prototyping Building repurposes a fire‑damaged, six‑story brick structure whose original timber interior was completely destroyed. The design introduces a new hybrid steel-and-concrete structural system, creating an ultra‑high‑bay prototyping hall flanked by a narrow vertical stack of six floors of technology and light‑manufacturing suites.

Previous
Previous

Crystal Bridges Museum of American Art, Trail Pavilion

Next
Next

Writer's Shack and Art Cottage